Zirkel Kessel Ø 400 O-Ring
![]() Bild vergrößern |
37,00 EUR inkl. 19 % MwSt. zzgl. Versandkosten Lieferzeit: 5-7 Werktage* Art.Nr.: B 21512 |
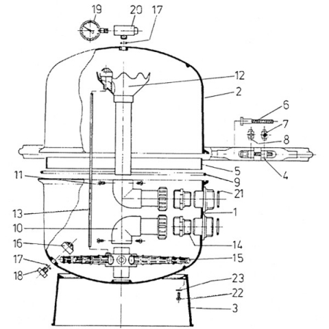
O-Ring für Sandfilter Zirkel 400 mm
- Teile-Nr. 9
(Alle Angaben laut Hersteller bzw. Lieferant.)
Käufer dieses Produkts haben auch folgende Artikel gekauft:
Zirkel Kessel Ø 400+500mm Komplette Entleerung ab BJ 2007Für Zirkel Kessel 19,95 EUR (inkl. 19 % MwSt. zzgl. Versandkosten) |
Skimmerkorb für Agil BreitmaulSiebkorb 19,96 EUR (inkl. 19 % MwSt. zzgl. Versandkosten) |
Zirkel Entleerungsschraube 3/8" mit DichtungZirkelkessel bis Baujahr 2007 7,82 EUR (inkl. 19 % MwSt. zzgl. Versandkosten) |
Dichtung 3/8" für Entleerungsschraube ZirkelZirkelkessel bis Baujahr 2007 3,00 EUR (inkl. 19 % MwSt. zzgl. Versandkosten) |
Reparaturset FolieReparaturset 9,50 EUR (inkl. 19 % MwSt. zzgl. Versandkosten) |

